Технология установки
Масса одного фундаментного элемента фм 1 достигает девяти тонн (по стандарту одна конструкция весит 8 890 кг), так что транспортировка и установка его потребуют привлечения специальной строительной техники, а ручной способ исключается полностью.
Для перевозки задействуют большегрузный транспорт, способный перемещать подобного рода грузы. Если предстоит переместить конструкции фм 1 на большие расстояния, используют железнодорожные платформы.
При погрузке изделия перекладываются досками, толщина которых составляет три сантиметра, чтобы исключить трение о борта и другие элементы. Кроме того, каждый груз жестко фиксируется вязальной проволокой, чтобы не перемещался во время движения. От бортов транспорта фундамент также перекладывается деревянными прокладками.
Погрузка и разгрузка выполняется краном. Чалки с крючьями фиксируются за монтажные скобы, находящиеся в верхней части нижней плиты. При подобных работах необходимо выполнять требования безопасности.
Монтаж изделия на определенное место выполняется также с помощью грузоподъемной техники. Конструкция устанавливается в почву, при этом ее поверхности дополнительно обрабатываются защитными средствами от негативных воздействий агрессивной среды. Погружение осуществляется не меньше, чем на пятьдесят процентов высоты бетонной конструкции.
Учитывая размеры фундамента фм 1, геометрические объемы готового котлована варьируются в пределах пяти – тринадцати кубометров и определяются глубиной заложения подошвы.
Монтаж металлических колонн

Металлические колонны монтируются на основаниях, в которых заблаговременно встраивают анкерные болты для их крепления. После проектирования стандартное положение опор обеспечивается точным размещением анкерных болтов на местах фиксации. При этом точность установки обеспечивается серьезной подготовкой плоскости основания.
Опирание колонн выполняется так:
- На поверхность основания, которое смонтировано до нужной отметке опорной подошвы, без последующей доливки цементной смеси. Применяется для опор с фрезерованными башмачными подошвами.
- На заблаговременно выверенные места, устанавливаются и заполняются бетонной смесью металлические плиты. Основание бетонируется до уровня на 5−8 см ниже той отметки подошвы опоры, которая обозначена при проектировании.
- После чего выполняют установку опорных колонн, объединяя осевые отметки разбивочных осей на элементах, вмонтированных в фундамент, с их отметками. Установочные винты регулируют положение отдельной опоры по высоте с учетом того, что верхняя поверхность плиты будет располагаться на заданной отметке опорной плоскости башмака. Опорные плоскости столбов должны заблаговременно быть простроганы.
- Основание бетонируется до уровня на 0,25−0,3 м ниже отметки поверхности башмака, отмеченной при его проектировании.
После выполнения этих работ, монтируются закладные элементы и составляющие опор. Верхнюю часть основания цементируют до уровня на 4−5 см ниже верхней плоскости опорных элементов. Опорная поверхность башмака изготавливается под прямым углом к оси самого столба.
Фундамент-плита
Для устройства такого монолитного фундамента ФМ потребуется в разы больше рабочих рук и строительных материалов
Для устройства такого монолитного фундамента ФМ потребуется в разы больше рабочих рук и строительных материалов. Однако такой каркас для дома позволяет выдерживать максимальные нагрузки при любых свойствах грунта (пучение, горизонтальные сдвиги, глинистые почвы, грунтовые воды и пр.).
В первую очередь подготавливаем котлован, который копают на заданную глубину. Его дно тщательно трамбуют и накрывают геотекстилём. Материал стелют внахлест, обрабатывая его края паяльной лампой, чтобы получить надёжную изоляцию. Теперь следует устроить песчаную подушку для ФМ. Для этого лучше использовать песок средней фракции. Его стелют толщиной 15 см и тщательно трамбуют. По периметру фундамента устанавливают опалубку из качественных досок. Их скрепляют между собой и тщательно подпирают. Песчаную подушку укрывают рубероидом, также соблюдая технологию герметичности. Поверх слоя гидроизоляции устраивают все сантехнические коммуникации
При этом важно проверить системы методом пролива еще до заливки плиты. Иначе потом будет поздно
Остаётся армировать монолитный фундамент плиту. Для армирования используют пруты сечением 12-16 мм и пруты сечением 8-12 мм. Из них вяжут две сетки, каждая из которых по площади будет почти равна площади фундамента (следует убрать по 2 см с каждого края сетки, чтобы она не выступала из залитого раствора). Шаг поперечных прутьев делают 30-40 см. Обе сетки располагают друг над другом таким образом, чтобы снизу и сверху они не доставали до краёв раствора по 5 см. Для этого можно использовать подпорки из любого материала. Полностью обустроенный котлован заливают подготовленным раствором.
Важно: бетонный раствор замешивают из цемента марки М-300 (не ниже). Монолитный фундамент ФМ плита будет сохнуть около трех недель
Для качественного застывания раствора в жаркую погоду можно накрыть плиту рубероидом и периодически смачивать её. После высыхания фундамента проводят распалубку и полностью гидроизолируют основание наливными материалами. Такой каркас прослужит не одно десятилетие верой и правдой
Монолитный фундамент ФМ плита будет сохнуть около трех недель. Для качественного застывания раствора в жаркую погоду можно накрыть плиту рубероидом и периодически смачивать её. После высыхания фундамента проводят распалубку и полностью гидроизолируют основание наливными материалами. Такой каркас прослужит не одно десятилетие верой и правдой.
Важно: чтобы правильно определиться с типом монолитного фундамента для вашего дома, воспользуйтесь услугами опытного архитектора и геолога. Иначе допущенные ошибки при расчетах исправить потом будет сложно
Достоинства и недостатки стаканных оснований
Какими особенными преимуществами обладают такие стаканные основания?
- Колонны для них изготавливаются промышленным способом, что обеспечивает им долговечность, высокое качество и надежность;
- При наличии необходимой техники установка их довольно проста и не занимает много времени, что позволяет ускорить сроки монтажа и сократить расход средств.
К недостаткам применения данного типа оснований можно отнести необходимость применения специального тяжелого оборудования:
- как для доставки изделий,
- так и для их размещения и установки.
В настоящее время активно используются различные железобетонные опоры: разница состоит и в их размерах, и в массе.
При любом строительстве важно правильно определиться с типом необходимых элементов, которые должны соответствовать виду планируемых строений и нагрузкам от них!
Как делается расчет колонного фундамента

Как правило, расчет фундамента для металлической колонны подразумевает, способен ли грунт выдержать расчетную нагрузку фундамента, с которой он будет воздействовать на квадратном сантиметре площади, и сбор всех данных о будущем строительстве. Фактически, нужно получить полную информацию о здании, грунтах и грунтовых водах, провести сбор и систематизацию полученных данных и уже на их основании передать строителям готовый проект. Для этого нужно:
- получить от архитектора проект будущего здания, спецификацию строительных материалов и коммуникаций;
- рассчитать полную площадь опоры;
- сделать сбор всех параметров, систематизировать их и получить фактическое расчетное давление здания в целом.
Как узнать нагрузку, которая будет создавать само здание? Для этого нужно получить подробные данные о самом здании, сделать сбор массы и характеристик всех материалов, которые могут использоваться при его возведении, а также проектируемых коммуникаций, будущей мебели, количества снега на крыше. Такой расчет состоит из нескольких частей:
- Расчет перекрытий зданий и стальных колонн. Сначала нужно узнать массу самой металлической колонны, ведь она также, хоть и незначительно, создает давление на грунт. Для этого требуется посчитать объем конструкции. Делается это по геометрической формуле вычисления объема цилиндра. Так получится объем, который затем умножается на плотность металла для получения массы стальной колонны.
- Затем нужно узнать массу перекрытий. Как правило, это фабричные изделия и каждый производитель уже указывает их массу. Поэтому, достаточно связаться с поставщиками.
- Бывают случаи, когда на металлические колонны устанавливается ростверковая конструкция. Ее массу также не проблема рассчитать, ведь для этого достаточно знать, какое количество бетона или готовых бетонных конструкций пойдет на строительство ростверка.
- Расчет массы стен. Тут многое зависит от материала, ведь кирпич весит меньше, чем бетон, но больше, чем пеноблоки. Соответственно, стоит провести сбор данных обо всех строительных материалах, используемых при строительстве здания.
- Расчет крыши. Сюда входит спецификация материалов, из которых сделано чердачное помещение, а также спецификация всех материалов крыши, вплоть до внешнего покрытия. При проектировании сооружения архитектор предоставляет подробную спецификацию, поэтому посчитать суммарную массу конструкций не составит труда.
- После суммирования всех полученных данных будет вычислена цифра, которая характеризует максимально допустимую нагрузку на опоры фундамента.
Чтобы узнать, какая сила давит на единицу площади опоры, нужно знать ее габаритные размеры. Если стальной столб имеет квадратное сечение 50 х 50 см, то площадь опоры будет составлять 2500 см². Тогда давление, которое будет воздействовать на единицу площади грунта, вычисляется методом деления массы здания на площадь одной опоры.
Но всегда существует правило: большее количество опор не будет лишним, поэтому часто проектировщики устанавливают опоры с интервалом приблизительно 1,5 – 3 м. Это делается с целью предоставления необходимого резерва прочности на конструкции, связанные с несанкционированной достройкой, обустройством помещений или установкой тяжелого промышленного оборудования. Как правило, при расчетах предоставляют обязательный 50% резерв прочности на каждую опору.
Фундамент столбчатый монолитный
Столбы располагают друг от друга на расстоянии 1,5-2,5 метра в зависимости от параметров будущего дома
Для устройства и монтажа такого типа основания необходимо в первую очередь выполнить подготовительные работы. То есть сначала на грунт наносят разметку, согласно которой будут заливать столбы. Причём разметка должна формироваться по наружной и внутренней стене будущих колонн. В грунт вбиваются клинья и после этого между угловыми разметками натягивают шнур.
Важно: столбы располагают друг от друга на расстоянии 1,5-2,5 метра в зависимости от параметров будущего дома. При этом колонны обязательно должны быть установлены под всеми несущими стенами и в местах стыков стен
- После нанесения разметки необходимо выкопать нужное количество ям под опорные столбы. Их глубина зависит от особенностей грунта и массы готового дома, а также от уровня промерзания почвы. При этом дно ямы нужно делать с расширением под устройство опорного башмака.
- Дно каждой ямы тщательно трамбуют и засыпают слоем песка толщиной 15 см. Песок немного увлажняют и тщательно трамбуют. Поверх песка можно уложить слой арматуры и залить его бетонным раствором. Это будет опорная площадка для столбов.
- Застывшие башмаки укрывают гидроизоляционным материалов с нахлестом на стенки ямы.
- Теперь в ямы устанавливают опалубку. Её можно делать из досок, скрепленных между собой шпильками или хомутами (для столбов квадратного сечения) или из асбестоцементных круглых труб. Трубы в этом случае будут являться несъемной опалубкой.
- В установленные каркасы монтируют арматуру. Для квадратных колонн её вяжут из четырех продольных прутов и нескольких поперечных. Для круглого столба можно использовать три продольных и поперечные.
Важно: арматуру необходимо только вязать и ни в коем случае не варить. Сварка нарушает эксплуатационные характеристики металла
- В подготовленную опалубку с установленной арматурой заливают бетон. При этом следует тщательно трамбовать раствор, избегая касания с арматурой.
- Столбы полностью высыхают в течение 1-2 недель. После этого их гидроизолируют со всех сторон качественными материалами.
- По окончании монтажа ФМ (фундамента монолитного) столбчатого типа необходимо провести устройство ростверка. Для этого нужно соорудить опалубку, которая будет охватывать столбы по контуру. Нижние щиты опалубки подпирают качественными опорами. В опалубку укладывают армирующую сетку и заливают бетон.
- После высыхания ростверка доски опалубки демонтируют и проводят качественную гидроизоляцию пояса.
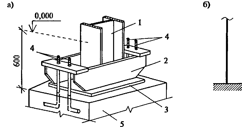
Фундамент опоры освещения ОГК ФМ 0,108-1,2
Металлические опоры несиловые фланцевые граненые (ОКГф) состоят из двух частей: фундаментной части и граненого столба опоры. Фундаментная часть опоры освещения (закладная деталь фундамента) представляет собой металлическую трубу, на конце которой приварен квадратный стальной фланец с отверстиями под болты или анкерные элементы. Фундаментный блок устанавливается в заранее подготовленный котлован и заливается бетоном, при этом внутри предусматриваются технологические полости для ввода подземного силового кабеля. Размер фундамента под опору освещения рассчитывается в зависимости от места установки и типа грунта. Для достижения максимальной степени антикоррозионной зашиты закладные детали опор покрывают лаком БТ 577 в комплексе с грунтовкой типа ГФ-021.
После того, как бетон заcтыл, к установленной в грунт фундаментной части крепится оцинкованная опора конической формы восьмигранного сечения. Монтаж осуществляется посредством болтового/анкерного соединения подпятника опоры с фланцем фундаментной части и прочно затягивается. При таком соединении опора более устойчива к нагрузкам, чем при аналогичном прямостоечном соединении, а монтаж опоры освещения выполняется легко и оперативно. Верхняя часть опоры имеет универсальное посадочно-присоединительное место для установки различных кронштейнов под светильники.
Технические особенности устройства такого основания
Такие фундаменты должны полностью соответствовать строительным нормам и ГОСТам. Их назначение – передача общей массы конструкции здания через железобетонные опоры на основание, а затем — воздействие на почву. Соответственно, все фундаменты можно условно разделить на следующие группы:
- Основание под опоры с допустимым сечением до 300х300 мм;
- Фундаменты под колонны с сечением 400х400 мм.
Существует и другие варианты железобетонных фундаментов, но их толщина, размеры и глубина погружения рассчитывается индивидуально. Также нужно учесть, что колонны используются при строительстве массивных промышленных зданий, при реставрации памятников архитектуры, а также зданий на плывунах и карстовых отложениях.
В некоторых случаях для определения типа и устройства конкретного фундамента для здания общего назначения приходится проводить расчеты каждой опоры индивидуально, так как такие основания в большинстве случаев между собой не соединяются армированием и бетонным раствором.
Монтаж ЖБ колонн.
Основные типы фундаментов под опоры в зависимости от назначения:
- Каркасные. Используются для строительства сооружений общего назначения;
- Бескаркасные – для небольших частных домов;
- Железобетонные и бетонные – для промышленных и частных зданий большой высотности, которые строятся с учетом перепадов высот по ярусам, а также при наличии в разрезе разных типов почвы;
- Бутовые основания под опоры. Используются при реставрационных работах, а также с целью обеспечить декоративную составляющую будущей конструкции.
Основные материалы, которые используются при устройстве основания:
- Бетон;
- Железобетон;
- Бутобетон;
- Бутовая кладка.
Понятно, что при выборе материала для основания строитель отталкивается от максимально допустимых нагрузок на подушку и назначения самого здания. Также существует несколько видов фундаментов под опоры: ленточный, столбчатый, свайный и сплошной монолит.
Соединение металлических колонн с арматурой железобетонного фундамента.
Стальные стойки при этом крепятся к основанию с помощью специальных болтов и анкеров, крепежи должны быть залиты бетоном. Такую конструкцию иногда можно встретить при строительстве каркасно-монолитных зданий, когда арматура есть в самой подошве, а также в зданиях общего назначения.
Работа по выполнению столбчатого фундамента
Схема разметки территории под фундамент.
Каждый конкретный вид столбчатого фундамента предполагает свои действия по выполнению работы. Необходимо рассмотреть их более детально.
Столбчатый фундамент из асбестовых труб.
Это самый простой и экономичный вид из всех имеющихся видов (причем не только столбчатых). Нужное количество столбов рассчитываются по принципу: столбы в каждом углу и через каждые два метра от них. Делать фундамент для деревянных построек с чердаком советуют из асбестоцементных труб диаметром в 200 мм. Если строение более тяжелое, то лучше применять трубы диаметром в 250 мм.
Выкапывают примерно 20 ям по 1-1,5 метра глубиной. Занятие не из легких, поэтому лучше использовать садовый бур. В диаметре яма должна быть больше трубы на 10 см.
В яму засыпается песок и трамбуется, он будет выполнять роль основы. По возможности лучше использовать просеянный морской песок. Его засыпают в яму по бокам примерно на 20-30 см, чтобы закрепить трубу. Когда трубы будут крепко держаться, нужно забить арматуру таким образом, чтобы она оказалась выше трубы.
Внутрь трубы и вокруг нее следует налить бетон. Наверх трубы устанавливают крепеж, чтобы осуществить в дальнейшем фиксацию основы с фундаментом. Установленные трубы нужно проверить уровнем, чтобы убедиться в ровности постройки. Готовый фундамент оставляется до полного схватывания примерно на 10 дней, в это время нельзя проводить никаких работ.
Столбчатый фундамент из кирпича.
Это более надежный вид столбчатого фундамента, ему под силу выдержать деревянный дом высотой в несколько этажей. Срок службы такого фундамента — не менее 50 лет. Принцип работы примерно такой же, как и в предыдущем варианте: нужно вырыть ямы под столбы. Кирпичная кладка столба должна состоять из 4 кирпичей в одном ряду. Дно также утрамбовывается песком, делается бетонная основа с применением арматурной сетки. Бетонная основа должна быть максимум 20 см, для ее высыхания требуется 2 дня, после этого выполняется кирпичная кладка. По ходу работы необходимо использовать уровень для контроля ровности созданных рядов и столбов. Готовые кирпичные столбы должны выстоять неделю, и после истечения этого срока можно переходить к их засыпанию и устройству основы дома.
Данный вид основания дома предполагает возведение столбов с монтированием на них опалубки, в центр которой заливается бетон. Опалубка снимается, когда бетон полностью высохнет. В итоге получается фундамент, схожий с ленточным видом.
Деревянный вид фундамента.
Столбы деревянного фундамента выполняются из дерева. Данный вариант не отличается высокой практичностью и используется достаточно редко.
https://youtube.com/watch?v=WP39XxDeDw4
Бетонный вид фундамента.
Столбы фундамента в данном случае делают из бетона. Для каждого столба необходимо сделать опалубку и залить в них бетон. Из-за нерациональности проведения работы данный вид также редко применяется на практике.
Выбор вида основы дома производят в отдельности для каждого частного случая, учитывая особенности строения, которое будет возводиться. Самыми широко и часто употребляемыми видами столбчатого фундамента являются основания с применением труб или кирпича. Данные виды фундамента возводятся достаточно просто и быстро.
На работу тратится примерно 1-2 недели, всю работу под силу выполнить самостоятельно.
Какие виды фундаментов выполняются под стены

Под несущие стены промышленных зданий монтируются свайные, столбчатые и ленточные фундаменты.
Свайные фундаменты выполняют на рыхлых почвах, которые залегают на значительную глубину. Сваи разделяют на различные виды в зависимости от их назначения. Изготавливаются из древесины, стали, бетона и железобетона. Различают сваи цельные и сборные из железобетона.
Широкое распространение в строительстве получили сборные сваи. Их выпускают двух видов: цилиндрические трубчатые и квадратные сплошные.
Бетонные сваи в основном производятся цельными с различной глубиной заложения, нагрузками и различными сечениями. Металлические сваи производятся из труб, швеллеров и двутавров. Такие сваи редко применяются при обустройстве фундамента под стены из-за подверженности их коррозии, а также из-за дефицита стали. Деревянные сваи выпускаются из лиственницы, сосны. На верхний край колонны надевают бугель (стальное кольцо), а на нижний – металлический башмак. Это необходимо для того, чтобы защитить сваю от размолачивания при забивке.
Столбчатые основания под несущие стены промышленных строений выполняют при плотных основаниях и малых нагрузках. Снизу стен оснований столбы располагаются в месте стыкования, пересечения и в углах, а также в различных промежутках на расстоянии менее 3–6 м. Отдельно установленные колонны связываются друг с другом балками, которые воспринимают нагрузку, создаваемую стенами.
Ленточные основания монтируют под самонесущие либо несущие стены, выполненные из кирпича и блоков. Такие основания бывают цельными и сборными. Сборные основания пользуются большей популярностью. Такие основания устраивают из бетонных и железобетонных блоков.
Ленточные основания выполняют из следующих компонентов:
- блок-подушек марки Ф;
- блоков стеновых прямоугольной формы марки СП.
Блоки стен имеют следующие размеры:
- высота – 0,6 м;
- длина – 2,4 м;
- толщина – 0,3-0,6 м.
Также выпускают блоки доборные марки СПД, размеры которых отличаются лишь длиной (у них она 0,8 м). Они применяются для перевязки блоков в основании.
Блоки стен изготавливаются сплошными, с несквозными отверстиями, расположенными снизу. Изготавливаются из бетона марки М150.
Виды и размеры основания
Фундамент из железобетонных стаканов может быть двух видов. В стандартном варианте это сборная конструкция, которая формируется из отельных элементов – складывается, как детская пирамидка. Монолитное стаканное основание считается более простым в плане монтажа, хотя доставка громоздких блоков и усложняется. Также выделяют фундаменты с подколонником (к арматуре которого потом приваривается металлический столб) и без него.
Следует различать такие основания и по типу применяемых башмаков:
- Если нагрузка от здания будет направлена только вертикально, стаканы берут с углублением квадратного сечения.
- При боковом воздействии нужны элементы с прямоугольными выемками, где соотношение короткой и длинной стороны составляет 0,6.
Как правило, размеры фундамента на плане не превышают 50-55 м2, впрочем, здесь все зависит от проекта постройки и ее веса. Кроме того, в проектировании и составлении схемы расстановки учитываются габариты самих стаканов. ЖБИ могут идти с опорной частью от 1,2х1,2 до 2,1х2,1 м. В высоту они выпускаются всего трех типоразмеров: 750, 900 и 1050 мм, но сегодня можно купить и укороченные башмаки в 650 мм – у этих цена пониже.
Габариты подколонных блоков нормируются ГОСТ 24476-80, где они дополнительно разделяются на 3 серии в зависимости от параметров устанавливаемых столбов:
- 1Ф – для колонн квадратного сечения со стороной 30 см.
- 2Ф и 3Ф – для элементов шириной 40 см.
Этапы монтажа по шагам
1. Подготовка.
Включает в себя разметку и выравнивание стройплощадки. Причем в отличие от других фундаментов столбчатого типа, стаканный к качеству работ на этом этапе предъявляет наиболее высокие требования. Сам участок должен быть точно размечен, а после выемки грунта по инструкции определяется еще и точное положение плит и подколонных башмаков в ямах (для этого используют специальные шаблоны).
2. Земляные работы.
На втором этапе по разметке роют углубления под стаканы и на дне каждого формируют песчаную подушку высотой 25-30 см и четко по ширине ямы. Она должна быть тщательно утрамбована и выровнена. Также обязательным является устройство дренажа для отведения излишков влаги. Инструкция допускает установку всех башмаков в котлован или с выемкой под каждый столб отдельно. Еще один вариант – сплошная траншея по периметру будущего здания. В любом случае ширина ям должна быть на 30 см больше размеров опорной панели под стаканом.
3. Сборка.
В первую очередь на отсыпку устанавливают готовые железобетонные блоки или плиты – строго горизонтально и в одной плоскости друг с другом. Проверку точности укладки необходимо выполнять геодезическим инструментом, поскольку именно от соблюдения технологии на этом этапе работ зависит качество монтажа и долговечность всей постройки. На готовые плиты ставятся стаканы – ж/б изделия с внутренней полостью, по форме напоминающие ступенчатые пирамиды. Их все придется тщательно выверять по горизонтальному уровню и осям, а в случае необходимости выполнять вручную точную подгонку.
Стоимость
| Серия | Марка | Размеры площадки, мм | Высота стакана, мм | Вес, т | Средняя цена, руб/шт. |
| 1Ф | 12.8-2 | 1200х1200 | 750 | 1,9 | 9 310 |
| 15.8-2 | 1500х1500 | 2,5 | 12 390 | ||
| 18.9-2 | 1800х1800 | 900 | 4,3 | 21 080 | |
| 2Ф | 12.9-1 | 1200х1200 | 2,1 | 10 180 | |
| 15.9-2 | 1500х1500 | 3,0 | 14 970 | ||
| 18.11-1 | 1800х1800 | 1050 | 4,5 | 21 420 | |
| 3Ф | 15.15-1 | 1500х1500 | 900 | 1,9 | 7 120 |
| 18.18-2 | 1800х1800 | 3,35 | 11 590 |
Разновидности
По конструкции монолитные фундаментные основания делятся на несколько видов:
- столбчатый. Представлен отдельными опорами круглых или квадратных форм, внутри имеющих металлический каркас. Такие столбы в дальнейшем соединяются в единое основание прочным и надежным ростверком;
- ленточный. Замкнутый контур, уложенный по периметру строящегося сооружения и под его несущими стенами. Может быть армированным или заливается с использованием бута. Ленточное основание можно заглублять в почву на необходимый уровень, учитывая особенности грунта и вес предполагаемого объекта;
- монолитная плита. Основа залита сплошной бетонной подушкой под все здание. Этот вариант каркаса называют плавающим, потому что на него не оказывают воздействия пучинистые грунтовые составы. Монолитное плитное основание является наиболее прочным, обладает высокими несущими способностями.
Анкерные соединения
Конструктивная схема с указанием нахождения анкерных соединений
В зависимости от типа выбранной колонны, анкерные соединения подбираются в индивидуальном порядке. Установки и фиксация колонны выполняется с помощью больших болтов или анкеров, которые затем привариваются к арматурному слою и надежно удерживают колонну в вертикальном положении.
Отличительная особенность монтажа соединительных элементов в том, что после их закрепления фундамент разбивают. Если после этого отклонения болтов не произошло, то монтаж считают выполненным правильно, а если есть отклонения центров на расстояние от 2 мм, тогда анкера заменяют.






















































